КОНТАКТЫ: email: vent.sp77@mail.ru
циклоны СЦН-40, Высокоэффективные
 
П
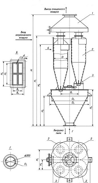
редназначены для эффективной очистки газов и аспирационного воздуха от мелкой и среднедисперсной пыли. Улавливание абразивной пыли.Циклон СЦН-40 имеет наиболее высокую степень очистки по сравнению с циклонами ЦН-15, СК-ЦН-34 и УЦ-38.Вынос пыли из циклона СЦН-40 в 2,5 раза меньше циклона ЦН-15 и в 1,5 раза меньше циклона СК-ЦН-34 и УЦ-38 при равных энергозатратах
Высокая степень очистки в циклоне СЦН-40 достигнута за счет повышения интенсивности вращательного движения газа в корпусе циклона и одновременного снижения скорости радиального стока в направлении к выхлопной трубе.
Циклоны СЦН-40 меньше подвержены забиваемости и абразивному износу.
Гидравлическое сопротивление при t=20oС 1000-2000 ПА.
Скорость в входном патрубке циклона 16-24 м/с.
Условная скорость в сечении корпуса циклона 1,3-1,9 м/с.
Степень очистки в циклоне диаметром 1000 мм для пыли 10 мкм, при t=20°С - 95 %
Коэффициент гидравлического сопротивления, отнесенный к сечению корпуса циклона -1100.
Циклоны: СЦН-40, СДК ЦН-33 ,  ЦН-11, ЦН-15, ЦН-15У, ЦН-24
-Вентиляторы промышленные
-Вентиляторы Soler&Palau (SsP)
-Воздушно - отопительное оборудование
-Промышленные пылеуловители (пылесос)
-Фильтры для очистки воздуха
-Автономные кондиционеры
-Шестерни, звездочки (изготовление)
-Циклоны аспирационное (пылеочистное)оборудования
-Лента транспортерная
-Лента тормозная
-Набивка сальниковая
-Паронит
-Ремни
-Рукава напорные РВД
-Техпластина ТМКЩ МБС, АМС
-Цепи промышленные
-Дефлектора, клапана  воздушные, заслонки, комплектующие для вентиляционных сетей
-Индивидуальные средства защиты на производстве
ТЕЛ :(+38)0677036427 ,     (+38)0686089285.                                       (+38) 0987856187
email: vent.k20@gmail.co    vent.sp77@mail.ru