КОНТАКТЫ: email: vent.sp77@mail.ru
Циклоны: ЦН-24, СДК ЦН-33 , СЦН-40, ЦН-11, ЦН-15, ЦН-15У,
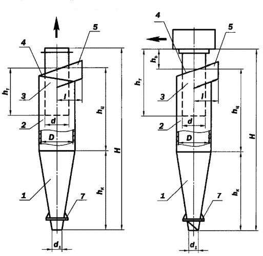
Циклоны ЦН-24 предначены для отделения от газообразной среды взвешенных частиц сухой пыли, образующейся в различных помольных и дробильных установках, при транспортировании сыпучих материалов, а также летучей золы.так же они предназначены для сухой очистки воздуха и газов, выделяющихся при некоторых технологических процессах, связанных с сушкой, обжигом, агломерацией, сжиганием топлива и т.д.
        Для волокнистой и слипающейся пыли, для очистки газообразной среды, в которой имеются капельно-жидкая фаза или возможна конденсация паров, данные циклоны применять не следует.
        Область применения: Циклон ЦН-24 (пылеуловитель) применяется: на предприятиях черной и цветной металлургии, в химической, нефтяной, машиностроительной промышленности, а также пылеуловитель эффективен на предприятиях энергетики, при производстве строительных материалов и т.д Наклон входящего патрубка 24о.Циклоны ЦН-24 может применятся только при пониженных требованиях к очистке, например, когда он используется в качестве предварительной ступени очистки
.
-Вентиляторы промышленные
-Вентиляторы Soler&Palau (SsP)
-Воздушно - отопительное оборудование
-Промышленные пылеуловители (пылесос)
-Фильтры для очистки воздуха
-Автономные кондиционеры
-Шестерни, звездочки (изготовление)
-Циклоны аспирационное (пылеочистное)оборудования
-Лента транспортерная
-Лента тормозная
-Набивка сальниковая
-Паронит
-Ремни
-Рукава напорные РВД
-Техпластина ТМКЩ МБС, АМС
-Цепи промышленные
-Дефлектора, клапана  воздушные, заслонки, комплектующие для вентиляционных сетей
-Индивидуальные средства защиты на производстве
ТЕЛ :(+38)0677036427 ,     (+38)0686089285.                                       (+38) 0987856187
email: vent.k20@gmail.co    vent.sp77@mail.ru