КОНТАКТЫ: email: vent.sp77@mail.ru
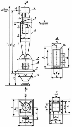
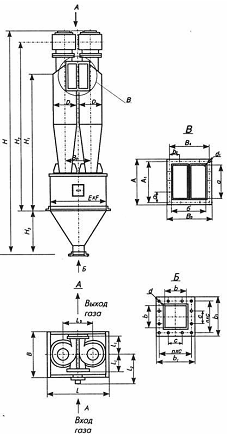
Циклоны: СДК ЦН-33 , СЦН-40, ЦН-11, ЦН-15, ЦН-15У, ЦН-24
продолжение  технические характеристики >>
-Вентиляторы промышленные
-Вентиляторы Soler&Palau (SsP)
-Воздушно - отопительное оборудование
-Промышленные пылеуловители (пылесос)
-Фильтры для очистки воздуха
-Автономные кондиционеры
-Шестерни, звездочки (изготовление)
-Циклоны аспирационное (пылеочистное)оборудования
-Лента транспортерная
-Лента тормозная
-Набивка сальниковая
-Паронит
-Ремни
-Рукава напорные РВД
-Техпластина ТМКЩ МБС, АМС
-Цепи промышленные
-Дефлектора, клапана  воздушные, заслонки, комплектующие для вентиляционных сетей
-Индивидуальные средства защиты на производстве
ТЕЛ :(+38)0677036427 ,     (+38)0686089285.                                       (+38) 0987856187
email: vent.k20@gmail.co    vent.sp77@mail.ru