КОНТАКТЫ: email: vent.sp77@mail.ru
Циклоны типа РИСИ (конструкции Ростовского инженерно-строительного института) предназначены для очистки воздуха аспирационных систем от всех типов слипающейся и волокнистой пыли, полировальной пыли и отходов лакокрасочных покрытий при условии отсутствия конденсации паров жидкостей на внутренних поверхностях циклонах.
          Применяются для очистки воздуха от пыли, образующейся при полировании поверхностей мебельных и других деталей с использованием полировальных паст.
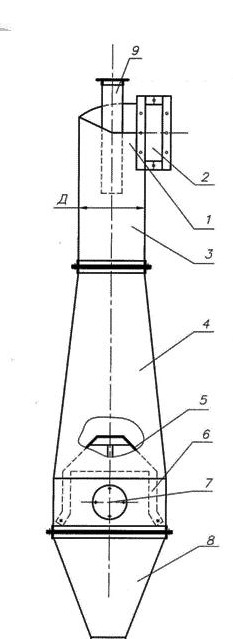
Конструкция. Корпус состоит из двух конусных частей. Расширяющаяся к низу нижняя коническая часть циклона исключает закупорки выпускного отверстия. Верхняя коническая часть циклона (сужается к низу) способствует сцеплению волокнистых частиц и образованию более крупных частиц.При этом улучшается сепарационный эффект более крупных частиц и затрудняется унос частиц пыли из циклона, то есть увеличивается пылеулавливающий эффект циклона.
Циклон может работать как под напором так и под разряжением. (вентилятор установлен до циклона или после него).
         При эксплуатации циклона РИСИ нормальной скоростью входа запылённого воздуха рекомендуется считать 17 м/сек. При этом сопротивление циклона будет достигать 1050 Па. В случаях когда не предъявляется повышенных требований к очистке воздуха можно принимать меньшую скорость входа запылённого воздуха, но не ниже 14 м/сек. При этом  сопротивление циклона будет достигать 720 Па
        Для увеличения производительности циклон РИСИ можно объединить в группу из двух циклонов с общим бункером для сбора пыли и общим выходом очищенного газа.  
       В дополнение к  циклону РИСИ может входить:
Улитка - для удобства перехода с вертикального на горизонтальное направление движения потока очищенного воздуха и уменьшения при этом энергопотерь;
Бачки - для сбора и кратковременного хранения уловленной пыли;
Течки - для перехода от циклонов к переходным патрубкам;
Переходные патрубки - для соединения течек с  бачками.
       Циклоны РИСИ изготовляются в климатическом исполнении УХЛ при эксплуатации по категории размещения 1,2,3,4 по ГОСТ 15150-69, в системах аспирации производств категорий А, Б, В, Г и Д.
Диаметр: 200-1600 мм   Производительность: 300 - 20000 м3/ч.   Эффективность очистки: 90%    Рабочая среда: слипающаяся и волокнистая пыль
Циклоны ЦМ предназначены для очистки газовоздушных выбросов от зернистой, волокнистой пыли; от пыли, склонной к слипанию; от пыли, отходов измельченных материалов легкой, пищевой, полиграфической промышленности; от пыли образующейся при переработке сельскохозяйственной продукции; от тяжелых абразивных частиц пыли. Не рекомендуется применять циклоны для осаждения налипающих на стенки воздуховодов и цементирующих частиц пыли.
             Циклон ЦМ состоит из: верхнего узла 1, формирующего пылевоздушный поток с выходным патрубком 2; корпуса, состоящего из цилиндрической 3 и конической 4 частей; отбойного конуса 5; крестовины 6; цилиндрической части  бункера, в стенке которого предусмотрены люки 7; конической части 8 бункера; выхлопной трубы 9.
           Циклон ЦМ слабо подвержен абразивному износу. Вследствие того, что скорости воздушного потока во входном патрубке 2 и, в особенности, в нижней части корпуса циклона невелики, истирание стенок не происходит даже при осаждении высокоабразивных пылей, как в циклонах тина ЦН.
            Подсос воздуха в бункере не сказываются на эффективности осаждения пыли, т.к. поток воздуха, проходящий через центральное отверстие в отбойном конусе 5, не препятствует движению пыли в бункер.В процессе длительной эксплуатации циклона ЦМ возможно оседание волокнистой пыли на лапках крестовины 6 отбойного конуса 5, поэтому необходимо осуществлять периодическую чистку через люки 7.
Техническая характеристика:
Диаметр: 500-1000 мм Производительность: 2200 - 15000 м3/ч. Эффективность очистки: 90% Рабочая среда: волокнистая и зернистая пыль Исполнение: Циклоны могут изготавливаться как правого, так и левого исполнения.
-Вентиляторы промышленные
-Вентиляторы Soler&Palau (SsP)
-Воздушно - отопительное оборудование
-Промышленные пылеуловители (пылесос)
-Фильтры для очистки воздуха
-Автономные кондиционеры
-Шестерни, звездочки (изготовление)
-Циклоны аспирационное (пылеочистное)оборудования
-Лента транспортерная
-Лента тормозная
-Набивка сальниковая
-Паронит
-Ремни
-Рукава напорные РВД
-Техпластина ТМКЩ МБС, АМС
-Цепи промышленные
-Дефлектора, клапана  воздушные, заслонки, комплектующие для вентиляционных сетей
-Индивидуальные средства защиты на производстве
Циклоны РИСИ, ЦМ, РЦ для улавливания слипающейся, волокнистой и маслиностой пыли
Регулируемый циклон РЦ

Назначение
    Циклон РЦ предназначен для улавливания слипающихся и маслянистых пылей. Он имеет обратный конус, снабжён спирально-винтовым закручивающим аппаратом и регулирующим устройством.

    Циклоны данного типа рекомендуется применять для улавливания пылей с повышенной влажностью или маслянистостью, склонных к слипанию, содержащих очень крупнодисперсную фракцию и обладающих повышенной абразивностью.   

    Закручивающий аппарат циклона выполнен в виде спирализованного винта, в нем размещено регулирующее устройство, которое представляет собой направляющую лопатку. лопатка расположена на уровне нижней плоскости закручивающего аппарата между корпусом циклона и выхлопным патрубком. с помощью рукоятки лопатка устанавливается и фиксируется под заданным углом.

    Данная конструкция позволяет осуществлять коагуляцию пыли в закручивающем аппарате, предотвращать вынос крупных частиц с большой парусностью, регулировать угол входа, а также соотношение между осевой и тангенциальной составляющими скорости потока при входе в корпус циклона в зависимости от свойств пыли и ее концентрации в очищаемом воздухе.
    При помощи направляющей лопатки можно периодически очищать внутреннюю поверхность корпуса циклона в случае налипания пыли. Для этого направляющую лопатку поворачивают несколько раз вверх на 1350 и возвращают в исходное положение.
ТЕЛ :(+38)0677036427 ,     (+38)0686089285.                                       (+38) 0987856187
email: vent.k20@gmail.co    vent.sp77@mail.ru