КОНТАКТЫ: email: vent.sp77@mail.ru
-Вентиляторы промышленные
-Вентиляторы Soler&Palau (SsP)
-Воздушно - отопительное оборудование
-Промышленные пылеуловители (пылесос)
-Фильтры для очистки воздуха
-Автономные кондиционеры
-Шестерни, звездочки (изготовление)
-Циклоны аспирационное (пылеочистное)оборудования
-Лента транспортерная
-Лента тормозная
-Набивка сальниковая
-Паронит
-Ремни
-Рукава напорные РВД
-Техпластина ТМКЩ МБС, АМС
-Цепи промышленные
-Дефлектора, клапана  воздушные, заслонки, комплектующие для вентиляционных сетей
-Индивидуальные средства защиты на производстве
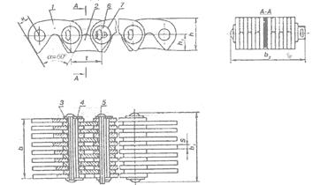
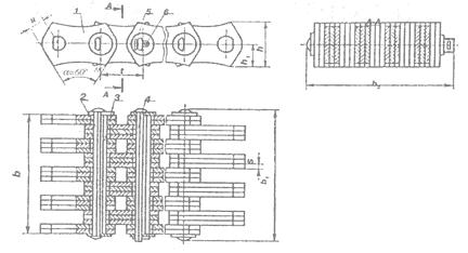
Цепи приводные зубчатые  ПЗ выпускаются по ГОСТ 13552-81 и по стандарту предприятия.
Бывают 2-х типов -
1-С односторонним зацеплением,
2-С двухсторонним зацеплением

Приводные зубчатые цепи служат для передачи больших усилий с высокими (до 40 м/с) скоростями. Эти цепи подходят для скоростных металлообрабатывающих станков, текстильных машин, моторной транспортной техники.
За счет благоприятного угла зацепления и незначительных отдельных масс пластин возникает только слабый удар при входе в зацепление. Следствием этого является высокая плавность хода, а также точность вращения. При равных с приводными роликовыми цепями нагрузках зубчатые цепи имеют меньшие габариты
.


Цепи приводные зубчатые
Рис. 1 Цепь приводная зубчатая с односторонним зацеплением
1-рабочая пластина; 2-пластина направляющая; 3-удлиненная призма; 4-внутренняя призма; 5-соединительная призма; 6-шайба; 7-шплинт.
Рис. 2 Цепь приводная зубчатая с двусторонним зацеплением
1-рабочая пластина; 2-удлиненная призма; 3-внутренняя призма; 4-соединительная призма; 5-шайба; 6-шплинт
ТЕЛ :(+38)0677036427 ,     (+38)0686089285.                                       (+38) 0987856187
email: vent.k20@gmail.co    vent.sp77@mail.ru